装备应用
-
昭通市消防救援支队研发轰燃试验演示装置
2026-01-15
为帮助消防救援人员直观认知轰燃现象、精准掌握其发生条件及危害程度,科学界定火场救援介入时机,强化烟火特性教学讲解与火灾科普教育宣传效果,昭通市消防救援支队聚焦实战教学需求,研发了轰燃试验演示装置,该装置于2024年7月取得国家知识产权局颁发的《实用新型专利证书》。
当前,在消防救援队伍的烟火特性教学与实战训练中,轰燃作为核心危险现象,其相关知识的传授与技能的培养至关重要。然而,现有针对轰燃现象的教学多依赖理论讲解、视频演示等传统方式,存在直观性不足、实操体验缺失等短板,难以让消防救援人员真实感知轰燃发生时的场景冲击与危险程度,也无法有效支撑精准救援时机判断等实战技能的培养;同时,传统教学手段在火灾科普宣传中也难以快速让公众理解轰燃危害,宣传教育效果受限。因此,研发一款可直观演示轰燃现象的专用装置,成为提升烟火特性教学质量、强化实战训练针对性、优化火灾宣传教育效果的关键需求。
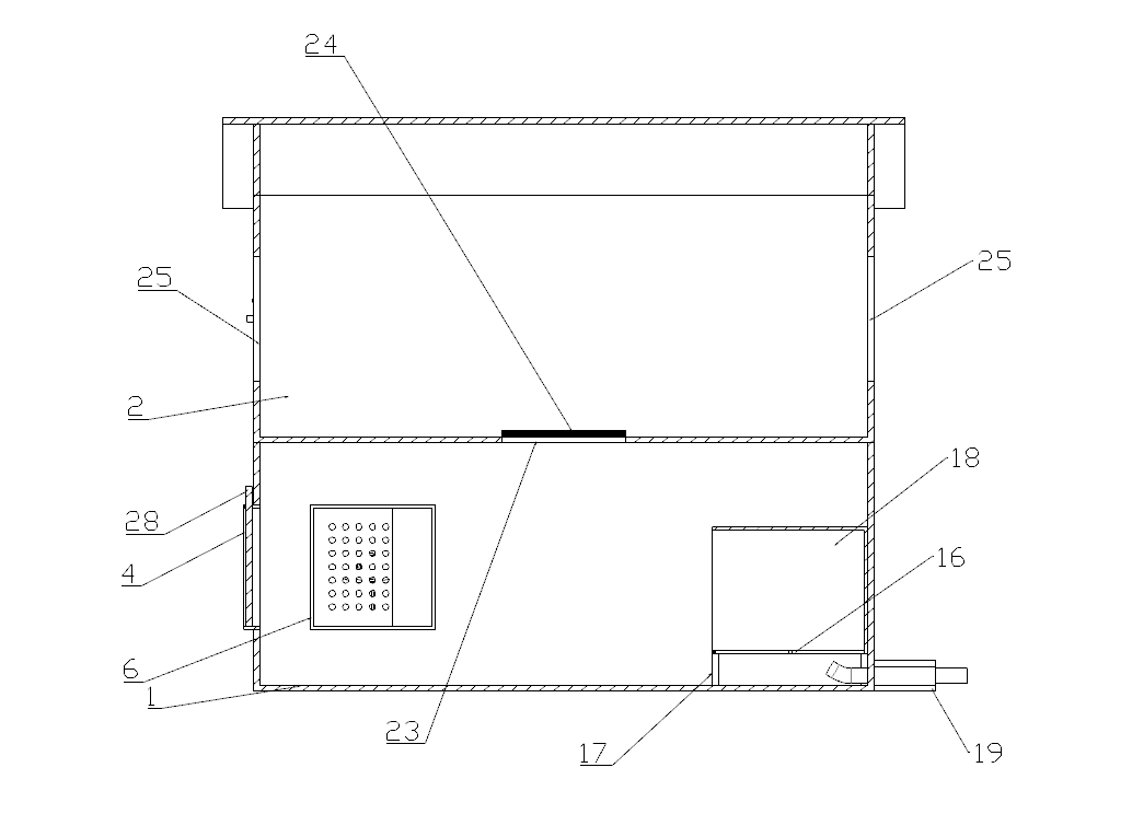
此次研发的轰燃试验演示装置核心部件为轰燃柜,具备多项显著优势:一是直观性强,能够清晰展现燃烧的发展规律及轰燃现象的完整过程与危害,让消防救援人员身临其境感受相关场景,也便于开展教学讲解与经验交流,大幅提升教学培训效率;二是成本可控,相较于大型真火训练设施,该装置结构简洁、运维成本低,可广泛应用于各类教学培训场景;三是生态环保,在演示过程中能够有效控制污染物排放,符合绿色发展理念;四是数据支撑能力突出,可精准收集燃烧过程中的各类数据,为火灾科研、建筑材料更新优化等工作提供可靠依据。
与此同时,该装置也存在一定局限性:一方面,其模拟的灾情相对理想化,与实际火场中复杂多变的环境存在差异;另一方面,装置内可燃物种类单一,导致模拟场景的覆盖面有限,缺乏更广泛的数据支撑,难以完全复刻实际火场的复杂情况。
轰燃试验演示装置的研发与应用,填补了传统烟火特性教学中直观演示手段的空白,为消防救援队伍的教学培训与火灾科普宣传提供了重要支撑。下一步,昭通市消防救援支队将针对装置存在的局限性,进一步优化升级,丰富可燃物种类,提升模拟场景的真实性与复杂性,扩大数据收集范围,持续增强装置的实战适配性与科研价值,为全方位提升消防救援队伍实战能力、筑牢火灾防控防线提供更有力的保障。
信息来源:本文转载自“消防科技信息网”。据悉,其原始来源为“昭通市消防救援支队 作者:昭通市消防救援支队”等官方媒体。版权归属原作者,本平台转载仅为行业信息传播,不保证其准确性。如有异议,请联系我们。



