装备应用
-
昭通市消防救援支队研发内涝与河道水流模拟设施
2026-01-14
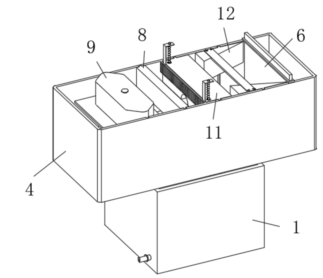
为深入研究城市内涝形成机制、河道水文演变规律,为防洪排涝规划、应急救援方案制定提供科学依据,提升消防救援人员应对内涝灾害的处置能力,降低灾害救援过程中的风险,昭通市消防救援支队积极探索创新,研发了内涝与河道水流模拟设施,该设施于2025年7月取得国家知识产权局颁发的《实用新型专利证书》。
目前,内涝与河道灾害应急处置训练作为提升消防救援队伍防汛救灾能力的重要训练方向,相关模拟训练设施是开展此类训练、推进科研与实战融合的核心关键。现有的相关模拟设施多侧重于单一水文现象的展示,难以完整复现内涝灾害发生的全流程,且对于复杂危险水域形态的模拟覆盖不足,无法充分满足消防救援队伍针对内涝灾害开展实战训练、制定科学救援方案的实际需求。而复杂危险水域环境及内涝蔓延过程是影响救援行动安全性与有效性的关键因素,精准模拟这些场景,能够帮助消防救援人员深入掌握内涝形成规律、熟悉各类危险水域特性,为救援路线规划、人员疏散方案制定提供有力支撑,对提升防汛救灾实战能力具有重要意义。
昭通市消防救援支队通过对该内涝与河道水流模拟设施开展测试,验证了其优异的实用价值与科研价值。测试结果显示,该设施具备多项显著优点:一是能够有效测试不同排水管网、城市下水道设施、道路、建筑物水位上涨及内涝积水蔓延的动态过程,完整复现内涝灾害从发生到发展的全链条场景,为研究内涝形成机制提供了精准的物理模型支撑;二是可实现翻滚流、微笑流、皱眉流、V流、倒V流、覆盖流、漩涡流、沸腾线等危险水域的模拟形态,全面覆盖内涝及河道灾害中可能出现的复杂危险水流场景,让消防救援人员能够直观感受并熟悉各类危险水域的特性与危害;三是能够为救援路线规划、人员疏散方案制定提供精准数据支撑,通过模拟不同工况下的内涝与河道水流变化,为优化应急救援策略、提升救援行动的科学性与安全性提供可靠依据。
内涝与河道水流模拟设施的研发与应用,有效填补了现有相关模拟设施在全流程内涝复现、复杂危险水域模拟等方面的空白,不仅为城市防洪排涝规划提供了科学的试验平台,更极大丰富了消防救援队伍防汛救灾实战训练的场景与内容,切实助力救援人员提升应对内涝与河道灾害的处置能力和风险预判能力。下一步,昭通市消防救援支队将进一步优化设施的模拟精度与场景覆盖范围,细化基于该设施的实战训练流程与标准,强化设施在科研试验与实战训练中的协同应用,充分挖掘其数据支撑价值,为全方位提高消防救援队伍防汛救灾实战能力、保障人民群众生命财产安全筑牢坚实基础。
信息来源:本文转载自“消防科技信息网”。据悉,其原始来源为“昭通市消防救援支队 作者:昭通市消防救援支队”等官方媒体。版权归属原作者,本平台转载仅为行业信息传播,不保证其准确性。如有异议,请联系我们。



苏公网安备32120302000480号